[星島綜合報道]蘋果公司(Apple)一直在研究鉸鏈技術,今年1月披露的專利申請,最近獲得了「帶有纖維複合摩擦鉸鏈的電子設備」的專利,而計劃使用的複合材料既輕薄但堅固,可用於可摺屏iPhone、MacBook Pro和其他可穿戴設備的所有產品。
蘋果獲授權的專利說明:「電子設備可能有部分是用鉸鏈連接的,一旦不小心,鉸鏈結構可能會較脆弱,也容易滑移⋯⋯通過使用纖維複合結構,縮減鉸鏈體積之餘可提高效能。」
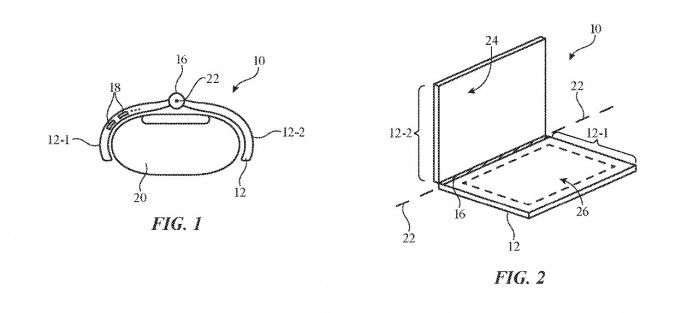
專利說明這種複合鉸鏈結構主要針對「智能戒指」(smart rings),但也涉及手提電話、平板電腦、筆記本電腦、桌面電腦、頭戴式設備、手持控制器、手指設備、腕表設備、其他可穿戴式設備、鍵盤、鼠標、遙控器、揚聲器等其他電子設備。

這項專利詳細地說明了鉸鏈的種種,例如一邊有電路,另一邊控制顯示器。但核心是,鉸鏈可以由很多重疊的「手指」組成。
「這種複合纖維鉸鏈可能會有第一和第二組交錯的細長『手指』,它們上面的小孔可能會被一根扣件的軸固定住。然後可以收緊固件,使拉長的手指沿着鉸鏈軸擠壓在一起。」
纖維複合鉸鏈,可以由碳纖維複合材料等構成,也可以是其他材料製成,它們可能被嵌入到粘合劑中,比如聚合物粘合劑,讓相關公司調整鉸鏈部件的部分位置。

圖片:AppleInsider、uspto
T09